Ningbo Richge Technology Co., Ltd.
Ningbo Richge Technology Co., Ltd.
उत्पादों
उत्पादों

ग्राउंड स्विच ऑपरेटिंग मैकेनिज्म इंटरलॉकिंग डिवाइस

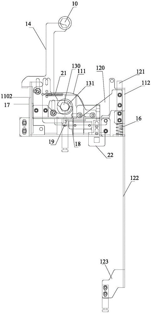
Earthing Switch Operating Mechanism Interlocking Device

The earthing switch interlocking device is an important device used to prevent misoperation and ensure the safe operation of the power distribution switchgear.  

Function and effect

Prevent misoperation: Avoid closing or opening the earthing switch at inappropriate times, preventing the earthing switch from being closed when the circuit breaker closed, or the circuit breaker from being closed when the earthing switch is closed, so as to ensure the safety of personnel and equipment.

Ensure the operation sequence: Ensure that the earthing switch and other related equipment (such as circuit breakers, disconnectors, etc.) are operated in a predetermined sequence and comply with the safety operation procedures in power system.


Application scenarios

High-voltage distribution cabinet: In high-voltage power systems, due to the high voltage level and large short-circuit current, the consequences of misoperation are extremely serious. Therefore, the grounding switch operating mechanism interlocking device is an indispensable component of the high-voltage distribution cabinet and is widely used in high-voltage switch cabinets in substations, power plants and other places.

Low-voltage distribution cabinet: In some low-voltage distribution systems with high requirements for power supply reliability and safety, such as hospitals, shopping malls, data centers, etc., grounding switch operating mechanism interlocking devices are also used to prevent power outages and personnel safety issues caused by misoperation.


View as  
 
स्विचगियर के लिए ग्राउंड स्विच तंत्र

स्विचगियर के लिए ग्राउंड स्विच तंत्र

स्विचगियर के लिए ग्राउंड स्विच मैकेनिज्म एक सुरक्षा तंत्र है जिसे स्विचगियर, ट्रांसफार्मर और सर्किट ब्रेकर जैसे विद्युत प्रणालियों में ग्राउंड स्विच के आकस्मिक संचालन को रोकने के लिए डिज़ाइन किया गया है। यह सुनिश्चित करता है कि ग्राउंड स्विच को केवल सुरक्षित परिस्थितियों में ही संचालित किया जा सकता है, आमतौर पर जब अन्य स्विच, जैसे सर्किट ब्रेकर या आइसोलेटर, सही स्थिति में हों। यह इंटरलॉक डिवाइस उपकरण के सक्रिय होने पर उसकी ग्राउंडिंग को रोकने के लिए महत्वपूर्ण है, जिससे विद्युत दुर्घटनाओं का जोखिम कम हो जाता है और रखरखाव कर्मियों की सुरक्षा सुनिश्चित होती है। डिवाइस आम तौर पर ग्राउंड स्विच के संचालन को भौतिक रूप से रोककर काम करता है जब तक कि कुछ शर्तें पूरी नहीं होती हैं, जैसे कि यह सुनिश्चित करना कि डिस्कनेक्टिंग स्विच खुला है या उपकरण को बिजली की आपूर्ति से ठीक से अलग किया गया है। कुछ डिज़ाइनों में, इंटरलॉक में यह संकेत देने के लिए स्थिति संकेतक या अलार्म भी शामिल हो सकते हैं कि ग्राउंडिंग की स्थितियाँ सुरक्षित हैं या नहीं। ग्राउंड स्विच इंटरलॉक डिवाइस का उपयोग आमतौर पर सबस्टेशनों, बिजली संयंत्रों और औद्योगिक विद्युत प्रणालियों में किया जाता है जहां उच्च-वोल्टेज उपकरण मौजूद होते हैं और रखरखाव कार्य को सुरक्षित रूप से करने की आवश्यकता होती है। यह ग्राउंडिंग प्रक्रिया में त्रुटियों को रोककर परिचालन सुरक्षा को बढ़ाता है, यह सुनिश्चित करता है कि काम शुरू होने से पहले उपकरण ठीक से अलग और ग्राउंडेड है। इंटरलॉकिंग तंत्र को शामिल करके, डिवाइस रखरखाव प्रक्रियाओं को सुव्यवस्थित करने, मानवीय त्रुटि को कम करने और विद्युत प्रणाली की समग्र विश्वसनीयता में सुधार करने में मदद करता है।
ग्राउंड स्विच इंटरलॉक युक्ति

ग्राउंड स्विच इंटरलॉक युक्ति

Richge ग्राउंड स्विच इंटरलॉक डिवाइसिन चीन का एक निर्माता है, जो स्विचगियर सिस्टम के भीतर ग्राउंड स्विच के सुरक्षित और विश्वसनीय संचालन को सुनिश्चित करने के लिए डिज़ाइन किए गए सटीक-इंजीनियर समाधानों में विशेषज्ञता रखता है। अनधिकृत या गलत स्विचिंग क्रियाओं को रोककर परिचालन सुरक्षा बढ़ाने के लिए हमारे इंटरलॉक तंत्र आवश्यक हैं।
इलेक्ट्रिक इंटरलॉक तंत्र

इलेक्ट्रिक इंटरलॉक तंत्र

रिचगे चीन में इलेक्ट्रिक इंटरलॉक मैकेनिज्म का निर्माता है, जो विद्युत प्रणालियों की सुरक्षा और विश्वसनीयता बढ़ाने के लिए डिज़ाइन किए गए परिष्कृत समाधानों में विशेषज्ञता रखता है। हमारे इलेक्ट्रिक इंटरलॉक तंत्र को सटीक नियंत्रण प्रदान करने और विभिन्न स्विचगियर अनुप्रयोगों में अनधिकृत या असुरक्षित संचालन को रोकने के लिए इंजीनियर किया गया है।
विद्युत स्विचगियर कनेक्टिंग रॉड

विद्युत स्विचगियर कनेक्टिंग रॉड

रिचगे चीन में इलेक्ट्रिकल स्विचगियर कनेक्टिंग रॉड्स का निर्माता है, जो स्विचगियर सिस्टम के भीतर विश्वसनीय और कुशल संचालन सुनिश्चित करने के लिए डिज़ाइन किए गए उच्च गुणवत्ता वाले घटकों में विशेषज्ञता रखता है। हमारी कनेक्टिंग रॉड्स को विभिन्न स्विचगियर घटकों के बीच सुरक्षित और सटीक कनेक्शन की सुविधा के लिए इंजीनियर किया गया है, जो विद्युत प्रणालियों के समग्र प्रदर्शन और कार्यक्षमता को बढ़ाता है।
स्विचगियर के लिए इंटरलॉकिंग डिवाइस

स्विचगियर के लिए इंटरलॉकिंग डिवाइस

रिचगे चीन में स्विचगियर के लिए इंटरलॉकिंग डिवाइस का निर्माता है, जो विद्युत स्विचगियर सिस्टम के सुरक्षित और कुशल संचालन को सुनिश्चित करने के लिए अभिनव और विश्वसनीय समाधान बनाने पर ध्यान केंद्रित करता है। हमारे इंटरलॉकिंग तंत्र को अनधिकृत या गलत संचालन को रोकने के लिए डिज़ाइन किया गया है, जिससे सुरक्षा और परिचालन अखंडता दोनों में वृद्धि होती है।
रिचगे चीन में एक पेशेवर ग्राउंड स्विच ऑपरेटिंग मैकेनिज्म इंटरलॉकिंग डिवाइस निर्माता और आपूर्तिकर्ता है। यदि आप हमारे कम कीमत वाले उत्पादों में रुचि रखते हैं, तो कृपया हमसे संपर्क करें।
X
We use cookies to offer you a better browsing experience, analyze site traffic and personalize content. By using this site, you agree to our use of cookies. Privacy Policy
Reject Accept